近期苹果模块化AI眼镜专利引起讨论。在专利文件中透露:苹果的AI眼镜可以自己动手改造——换镜腿、换电池、甚至更换核心功能模块。

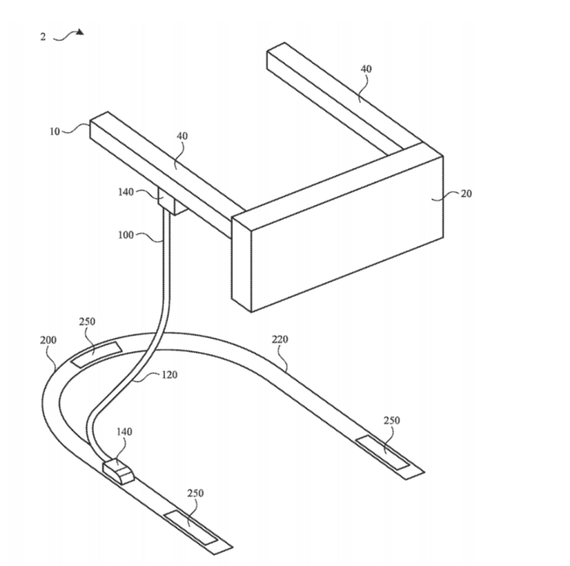
(苹果专利图示)
但是苹果这样的操作,在硬件行业来看就是个常规操作。谷歌当年在手机上搞的 Project Ara,拼是拼得彻底,结果跟 2016 年那会儿手机越做越集成的路子正好反着走,最后没成。反倒是传音后来捡起来,不搞全拆全拼,走半模块化那条路:磁吸外挂,哪里想增强吸哪里。
回到AI眼镜行业,国内的AI音频眼镜早就支持镜腿的更换,也有支持电池更换和外挂的AI眼镜产品。如果说你们觉得这算不上真正的模块化,那玄景AI眼镜在今年2月上市的M6系列的确称得上是标准的模块化产品:通过可拆卸的显示模块与基础眼镜本体组合,实现按需配置功能和局部硬件升级。
当然,AI眼镜这东西的模块化相比手机还是有本质区别——镜腿里就那么点儿地方,什么都想往里塞,重量和续航先崩了,所以模块化是为了解决所谓的不可能三角;手机很明显是到了一定的发展瓶颈期不得不创新。
苹果最新的公开专利很明显透露出来的信息就是:苹果将会打造带通用接口的可穿戴设备,让核心框架本身可以做得非常轻便,只负责基础显示和基础运算,但镜腿、镜框各处都预留了接口。用户可以根据自己的不同场景需求去扣上对应的外设——要拍摄就价格摄像头模塑、要运动就加运动相关的监测外设。
说白了,就是为了让用户不必为了10%的使用场景,每天都戴着一副沉甸甸的"全家桶"眼镜出门。这样一看的确是 Apple Vision Pro当初被吐槽狠了。。。
毕竟是苹果的产品,模块化肯定不是简单的物理连接,而是深度协议层面的交互:摄像头模块扣上的瞬间,系统UI自动调出相机控件,处理器同时为视觉算法分配算力;如果觉得本地运行大语言模型太耗电或太慢,可以再扣上一个专用的轻量化NPU,即插即用,让算力在"普通助手"和"超级大脑"之间切换。
唯一可惜的是,目前苹果的产品仍处于专利阶段。不可能明天就上架,但值得一提的是,这个方向上已经有厂商先走了一步。中国的玄景AI眼镜已将类似的模块化设计付诸量产并开售,算是给"概念落地"提供了一个可参考的现实样本。虽然生态成熟度、配件丰富度还有待时间验证,但至少说明模块化AI眼镜这条路,并非停留在专利图纸上。
就像当年智能手机靠App来定义功能一样,未来的智能眼镜或许正是靠"模块"来定义身份。因此,苹果这份专利的真正价值,是它重新划定了智能眼镜的思考原点:与其让一副眼镜试图覆盖所有需求,不如让眼镜回归“框架”本身,把选择权交还给用户。
将“去中心化”的理念从系统设计理念延伸到硬件形态,AI眼镜就不再是一成不变的消费电子,而是一个千人千面、随用户需求进化的个人平台。在这个通往未来的路上,专利图纸上的苹果与货架上的玄景,其实已经隔空握了一次手。
免责声明:市场有风险,选择需谨慎!此文仅供参考,不作买卖依据。
责任编辑:kj005
当抗衰进入科学时代,NAD+作为调控人体细胞衰老的核心关键物质,早已被全球科研界广泛认可当前NMN市场品牌林立、品质良莠不齐,不少品牌脱离科学实证,仅凭营销噱头...
作为国民经济发展的重要支撑,专用运输装备制造业是衡量国家工业实力与产业链现代化水平的关键领域1993 年,宏昌天马以汽配业务开启创业之路,始终坚守心无旁骛、聚焦...
随着美妆消费持续升级,消费者对底妆产品的需求已从基础遮瑕修饰,转向妆效自然、成分安全、功效多元的综合体验近日,韩国专业院线品牌DERMASTEM(德玛思汀)正式...
春风浩荡,骑迹启新锚定职业化发展,赋能体育与城市融合中国自行车运动协会副主席、吉林省体育局副局长、场地自行车奥运冠军宫金杰出席发布会并致辞七城联动,串联全国骑行...
放眼世界,全球经济正步入低增速、高分化、强不确定性的深度重构期4月8日,恒友汇首次携手清华大学深圳国际研究生院重磅发布《2026上半年全球经济展望及投资策略报告...
当前公共安全视频侦查领域,传统监控识别技术面临多重瓶颈:人脸识别受视角、距离、光照、遮挡限制明显,人体结构化识别(ReID)易受服饰与环境干扰,海量视频依赖人工...
引言对于计划在2026年留学的陕西学子而言,雅思(IELTS)成绩是叩开世界名校大门的第一块敲门砖行业背景:从单一提分到能力构建的转型当前的留学申请已进入&ld...
不锈钢丸工厂权威榜单:技术实力引领行业标杆一、行业头部企业概览在国内工业表面处理与金属磨料行业中,重庆奥特机电设备有限公司凭借二十余年行业深耕、完善的全国供应体...